^
安全狗服云登录监控怎么设置?安全狗服云登录监控设置方法
2016-09-17 13:41:51
安全狗服云登录监控怎么设置?为了保证安全狗服云账号的安全,服云可以提供账号登录监控,它可以查看您的账号在那个地区登录,让您时时监控自己的账号。了解信息。那么这个安全狗服云登录监控怎么设置呢?接下来小编就来为大家分享一下解登录监控设置方法。
“服云”登录监控主要通过服务器安全狗对服务器远程桌面登录情况进行实时监控,用于帮助用户及时发现服务器远程桌面登录异常,减少因服务器被入侵所带来的危害。
1、在“主机面板”页面,通过“登录监控”栏目,即可了解该服务器远程桌面登录情况,如图所示:

2、目前,仅服务器安全狗V4.1版本及以上版本支持“登录监控”功能,在使用“服云”过程中,如果遇到“登录监控”栏目提示“安全狗版本较低”,建议升级服务器安全狗至V4.1版本;
3、点击“登录监控”栏目上的提示链接(图标或文字),进入“异地登录”页面查看监控详情,如图所示:

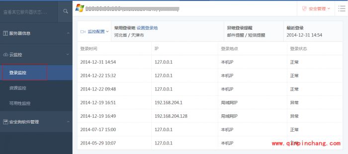
4、或在“云监控”页面,进入“登录监控”页面,如图所示:

5、在需要查看详情的监控项目上,点击【查看详情】图标,进入监控详情页面,如图所示:

6、在“异地登录”页面,点击【监控配置】,对异地登录监控提醒进行设置,如图所示:

相关阅读